Uffici: +39 041 94 26 39 – Edilizia: +39 3334990556 – Utensileria: +39 3311958135
Forniture materiali e servizi per l'edilizia a Venezia Mestre
122,00 €
8 disponibili
ACQUISTA ONLINE
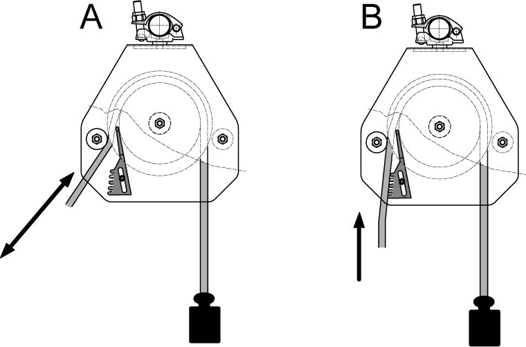
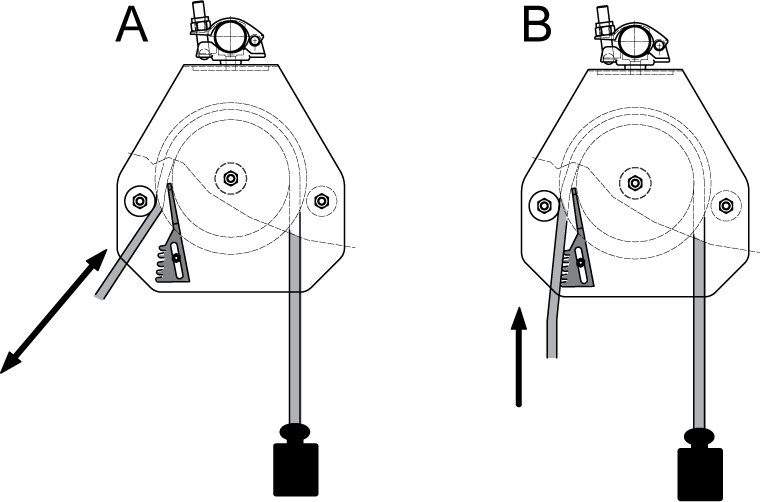
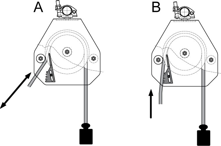
250-01
Carrucola di sicurezza autobloccante zincata capacità 50 kg, KIT RICAMBIO FRENO Ricambio (con bulloneria) Peso 0,15 kg